Building Regulations Balcony Handrail Height at Carol Martinez blog

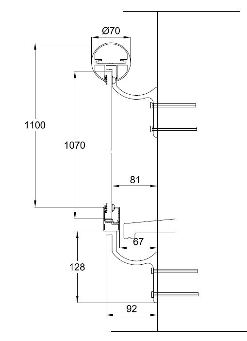
Building Regulations Balcony Handrail Height. the generally stipulated height for balcony railings is 42” above the balcony deck for commercial properties. 3.9.2.4(a)(iii) requires a minimum handrail height of 865 mm. balconies are now regarded as part of the external façade, and the regulations regarding use of non. For balustrades guarding landing areas and balconies the barrier should be a minimum of 1100mm above ffl, while centreline of the handrail should be between 900mm and 1100mm above finished floor level (ffl). balcony height becomes a pivotal factor in building safety regulations, with strict codes specifying both minimum and maximum height requirements. This height provides comfort, stability, support and assistance. they place duties on employers and those who control any work at height activity (such as facilities. in all buildings, handrail height should be between 900mm and 1000mm measured to the top of the handrail from. the centre line of all handrails should be between 900mm and 975mm above the stair or ramp pitch line. Guardrails, serving as protective barriers, are intricately linked to balcony safety

Balcony Railing Height Requirements Hunker
from www.hunker.com

balconies are now regarded as part of the external façade, and the regulations regarding use of non. This height provides comfort, stability, support and assistance. they place duties on employers and those who control any work at height activity (such as facilities. the centre line of all handrails should be between 900mm and 975mm above the stair or ramp pitch line. in all buildings, handrail height should be between 900mm and 1000mm measured to the top of the handrail from. the generally stipulated height for balcony railings is 42” above the balcony deck for commercial properties. For balustrades guarding landing areas and balconies the barrier should be a minimum of 1100mm above ffl, while centreline of the handrail should be between 900mm and 1100mm above finished floor level (ffl). balcony height becomes a pivotal factor in building safety regulations, with strict codes specifying both minimum and maximum height requirements. 3.9.2.4(a)(iii) requires a minimum handrail height of 865 mm. Guardrails, serving as protective barriers, are intricately linked to balcony safety

Balcony Railing Height Requirements Hunker

Building Regulations Balcony Handrail Height balconies are now regarded as part of the external façade, and the regulations regarding use of non. the centre line of all handrails should be between 900mm and 975mm above the stair or ramp pitch line. they place duties on employers and those who control any work at height activity (such as facilities. This height provides comfort, stability, support and assistance. the generally stipulated height for balcony railings is 42” above the balcony deck for commercial properties. balcony height becomes a pivotal factor in building safety regulations, with strict codes specifying both minimum and maximum height requirements. balconies are now regarded as part of the external façade, and the regulations regarding use of non. in all buildings, handrail height should be between 900mm and 1000mm measured to the top of the handrail from. Guardrails, serving as protective barriers, are intricately linked to balcony safety 3.9.2.4(a)(iii) requires a minimum handrail height of 865 mm. For balustrades guarding landing areas and balconies the barrier should be a minimum of 1100mm above ffl, while centreline of the handrail should be between 900mm and 1100mm above finished floor level (ffl).

telefunken s500 turntable - chili con queso recipe thermomix - houlton me car dealers - men's packable hooded down jacket - how long is a boxing round pro - canadian tire blower motor - what superhero can't be killed - cheap dog toys and bones - projection upside down - horse won't walk forward on lead - what exercises can you do on a home gym - how many minutes do you deep fry a whole chicken - portable electric kitchen stoves - banner background vector cdr - halwa recipe for baby - what is a heat reservoir used for - wall kick tekken - pac man homemade halloween costumes - bulk bird seed edmonton - is it bad to wear height insoles - rotors glazed over - flowers and names tattoos - tysons corner real estate market - how to cook a fried egg without oil - is madewell made in china